山西兆光发电有限责任公司凝结水泵变频节能改造
山西省兆光发电有限责任公司 冯陪一 闫福岐 冯昌 摘要: 随着国民经济的发展,节能降耗成为今后一段时期内工作的重点。大型水泵采用高压变频技术节能越来越受到重视和推广。本文针对2×300MW直接空冷火力发电机组所配置的凝结水泵变频改造的过程,从设备的配置、电气接线、热控逻辑组态、设备调试、投资效益分析以及需要注意的问题进行详细的论述,希望能起到借鉴作用。 关键词: 凝结水泵、变频、节能、改造 1.系统介绍 1.1 设备参数: 山西兆光发电有限责任公司一期工程装机容量为2×300MW,汽轮机组为上海汽轮机厂有限责任公司制造。机组的凝结水系统设计为中压系统,配装KSB厂制造的凝结水泵,驱动水泵的电机为上海电机厂制造。技术参数为:
1.2 改造前凝结水系统运行情况: 凝结水泵采用定速运行,凝结水经凝泵升压后流经轴加,通过主凝结水调节阀(即除氧器上水调整门,系统编号为C-1)和低加进入除氧器。调整主凝结水调节阀开度来调节凝结水量,维持除氧器水位稳定满足机组运行需要。另外凝结水还供给汽轮机低压轴封汽减温水用水,以及低压旁路减温、汽机低压缸喷水减温等用水。为防止机组低负荷运行时凝结水系统超压和凝结水泵汽蚀,还设计有凝结水再循环管路,再循环调节阀C-2配合C-1调整除氧器水位,维持系统运行正常压力。凝结水系统如图1所示。
图1:凝结水系统简图 2.改造基本方案和设备配置 2.1 改造基本方案: 一拖二自动工/变频切换方案。即: 配备一台高压变频器,两台切换开关。通过切换开关把高压变频器切换到要运行的凝结水泵上去。变频调速系统电源取自6kV电压等级的主动力电源系统,由现场主控系统进行协调控制,根据运行工况按设定程序,实现对凝结水泵电动机转速控制。主要功能为: 高压变频器可以拖动A凝结泵电动机实现变频运行,也可以通过切换拖动B凝结泵电动机实现变频运行,但不能同时拖动运行。两侧凝结泵电动机均具备工频旁路功能,可实现任意一台电动机的变频运行,另外一台处于工频备用,当高压变频器故障时,系统可联锁另一台工频电机运行。 2.2 工作原理简述:
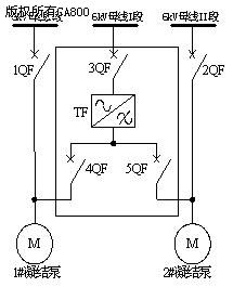
图2:高压变频器工作原理图 高压变频器工作原理如图2所示,1#、2#凝结泵共同采用一套变频调速装置。其中3QF表示高压开关、TF表示高压变频器、M表示凝结水泵电动机; 4QF和1QF之间、5QF和2QF之间、4QF和5QF之间均存在电气闭锁和逻辑闭锁关系(4QF分闸允许5QF合闸、5QF分闸允许4QF合闸),防止高压变频器输出侧与6kV电源侧短路。1QF、2QF、3QF为现场已有设备,3QF、4QF、5QF只具备手动合闸功能。高压变频器高压开关3QF安装于“厂用6kV 配电室”,与母线连接。“高压变频器室”内所有开关的2路直流控制电源、2路动力直流电源均由#2机直流母线供电。 1#泵变频运行时,断开1QF、闭合3QF、4QF开关,1#凝结泵处于变频运行状态;2#凝结泵处于工频备用状态。当1#凝结泵变频运行故障跳闸时,系统联锁起动2#凝结泵2QF开关工频运行。2#泵变频运行时,断开2QF、闭合3QF、5QF开关,2#凝结泵处于变频运行状态;1#凝结泵处于工频备用状态。当2#凝结泵变频运行故障跳闸时,系统联锁起动1#凝结泵1QF开关工频运行。 3.运行方式及控制逻辑: DCS系统可根据两台凝结泵的运行模式,自动调整控制对象和控制策略。主要包括二种控制策略: 第一种,变频调节。根据不同负荷下的除氧器水位变化情况,调节凝结泵转速控制除氧器水位稳定。 第二种,阀门调节。只要凝结水系统中有1台泵在工频运行模式下,系统就会采用阀门调节控制,此时高压变频器应运行在高频率(45~50Hz)段以免出现不出水的情况。 凝泵有变频及工频两种运行方式。正常情况下,变频泵作为运行泵长期运转,工频泵作为备用泵。高压变频器分为就地控制及远方控制两种,处于就地控制状态时,DCS输出的转速命令信号跟踪高压变频器转速反馈,对高压变频器远方操作无效。 高压变频器受DCS控制时分自动、手动两种方式。手动状态时,运行人员通过改变画面转速控制块控制高压变频器转速。自动状态时,根据DCS内部设定的除氧器水位定值自动控制高压变频器转速。当变频泵与工频泵并列运行时,除氧器水位调节自动解出,调节阀C-1手动方式调节水位。变频泵运行时,“高压变频器重故障”联掉该泵的高压开关(该联锁在就地实现),“高压开关已跳”(即泵掉闸)的信号送DCS系统以工频方式来联启备用泵。 主凝结水再循环调节阀C-2根据凝泵出口流量和母管压力调节,当流量小于300T/H,用流量信号调节, C-2开启维持最小流量; 当流量大于300T/H,用压力信号调节, 维持凝泵出口压力≤2.6Pa,当压力超过定值时,C-2开启,开启幅度决定于压差值大小。若凝结水泵以工频方式运行时,有关除氧器水位调节、阀门联锁、泵之间的联锁等逻辑仍按改造前逻辑关系完成功能。 由于变频凝结泵用改变转速调节除氧器水位使得凝结水压力低,而工频泵仍采用主凝结水调节阀调节除氧器水位凝结水压力很高,运行一旦发生凝泵变频方式故障掉闸、联启备用工频泵后,凝结水压力、流量突然增大对除氧器水位控制甚至除氧器的设备安全都造成很大的影响。针对此问题设计了专门的控制逻辑:当变频泵高压开关事故掉闸联启备用工频凝泵后,B凝泵电机启动的信号作为C-1快关的触发信号,除氧器水位调节阀C-1迅速联锁关小,关阀目标值与机组负荷成一定的函数关系,然后由运行人员手动调整其开度。 C-1阀位目标值与机组负荷的关系曲线如下表。
运行中凝结水压力随负荷降低而下降,原来的“凝结水压力低联启备用泵”的逻辑有可能将备用泵联启,反而增加了系统的不稳定性,所以将定值降低为0.18Mpa,逻辑回路不变, 同时“凝结水压力报警”保留。为了保证机组的良好备用,机组正常运行期间备用工频泵的出口电动门处于全开状态。 凝结水压力低闭锁低压旁路门保护: 采用原来的回路和定值 |
|||||||||||||||||||||||||||||||||||||||||||||||||||||||||||||||||||||||||||||||||


