ABB DCS系统在宝钢热轧加热炉改造中的应用
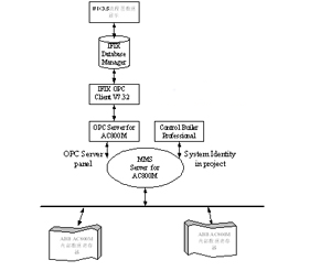
| 1. 前言 宝钢分公司2050热轧2号加热炉已经连续服役15年,达到一代炉龄,设备老化,加之原设计不尽合理之处给生产管理带来了诸多问题,急需进行大修综合改造。 另外,随着近年来蓄热式燃烧技术的进步,其所显现的环保和节能优势,带来了巨大的经济和社会效益。因此,决定结合本次大修在2号加热炉部分供热段上蓄热式烧嘴,以达到节能增产,减少NOx排放量,实现清洁生产,改善操作环境,使炉型结构更加合理,也使蓄热式燃烧技术在宝钢大型加热炉上得到推广应用。 随着计算机和自动化技术的不断发展,在生产过程中发挥日益重要的作用,其应用程度已成为衡量工业企业现代化水平的一个重要标志。为使蓄热烧嘴系统能够稳定、安全、高效的运行,并提高的加热炉整体监控和运行水平,必须对原有系统进行升级改造。改造中加热炉集散控制系统(DCS,Distributed Control System)采用了ABB新一代DCS系统AC800M,取得了良好的效果。 2. 工艺流程概述 加热炉生产时,根据轧制计划将板坯运送到装料输送辊道上,由推钢机送入炉内进行加热。加热过程分为8个供热段,即热回收段﹑预热段﹑一加热段上﹑一加热段下﹑二加热段上﹑二加热段下﹑均热段上﹑均热段下。其中一加热段下和二加热段下采用蓄热烧嘴,其他段采用普通平焰烧嘴。板坯在步进粱的作用下,按照优化的加热曲线经过各段的加热过程,最后达到满足轧制要求的加热温度,再由出钢机托起板坯出炉,将板坯托放在出料辊道上,送至轧机进行轧制。 3. DCS系统实现的功能 本系统主要负责整个加热工艺流程的监视与控制。系统根据上位机送来的板坯加热信息,自动调节各段的热分配负荷,使板坯加热均匀达到轧制要求。系统能够实时指示加热过程中各段温度变化,各段空气/煤气流量变化,并能够根据需要手动调节阀门开度﹑设置空燃比﹑关闭/打开烧嘴﹑加热方式切换等,还可以实现报警﹑曲线分析﹑班报表等功能。 4. 硬件配置及网络结构 硬件配置:ABB AC800M 控制器PM861 2个(冗余) Profibus通讯模块CI851 1块 MoudleBus通讯模块CI830 1块 模拟量输入模块AI810 5块 模拟量输出模块AO810 5块 热电偶输入模块AI835 9块 热电阻输入模块AI830 10块 数字量输入模块DI810 20块 数字量输出模块DO820 20块 操作站2台 HP CPU2.4G 256MRAM I/O服务器2台 HP CPU:P4 3.6G 512MRAM 工业以太网交换机3台 100M TP-LINK I/O点数量440点 软件配置:2套 WINDOWS2000Server 英文版 Intellution iFIX 3.5 授权2个 ABB CONTROL BUILDER M Professional 一套 从图中可以看出,系统分为三级网络结构,I/O服务器和HMI间采用标准的分布式客户机/服务器结构,控制器与I/O模块采用Profibus现场总线。 第一级为现场设备级。主要包括加热炉煤气/空气/烟气管道的各种调节阀﹑切断阀﹑差压变送器等,以及加热炉8个供热段的热电偶,水粱冷却水的流量开关﹑热电阻,蓄热烧嘴和常规烧嘴的点火和检测装置等等。与这些现场设备相关的各种检测或控制信号,以不同形式接至ABB DCS系统的S800系列的各种AI﹑AO﹑DI或DO模块。这些模块都带有通道隔离功能,安全可靠,可由有效的保护模块。 第二级为控制处理级。主要包括ABB AC800M DCS冗余的PM861中央控制器﹑Profibus-DP模块CI851﹑ModuleBus模块CI830﹑S800系列I/O模块和工业以太网交换机等。每个中央控制器有2个RJ45以太网接口,可以连接到两个不同的网段中,2个RJ45的RS232C接口可以实现两个控制器的状态监视,平时一用一备,一旦一个控制器出现问题,可实现无扰动切换。 第三级为监控管理级。主要由冗余I/O服务器﹑工程师站﹑2台HMI和工业以太网交换机组成。I/O服务器实现控制器与HMI的实时数据传输,并接受来自L2级板坯加热优化系统的设定信息。工程师站负责系统组态及日常维护。在HMI中采用iFIX软件进行集中监视、控制、报警、趋势分析、信息管理和报表打印等功能。 5.系统特点 5.1 工程师站和操作站特点 (1)监控软件采用基于Windows平台的美国Intellution公司的iFIX软件。IFIX不仅提供了可视化的窗口,包含作图工具、ActiveX控件、开发向导和专家的工具箱。特有的动画向导、智能图符生成向导等强大的图形工具方便了系统开发。而且系统具有良好的开放性,支持以太网、Profibus DP、RS232/422/485等通讯方式,支持TCP/IP、NetDDE、ODBC、OPC等标准通信协议。 (2)I/O服务器相互冗余,在一台服务器出现问题而停止工作的情况下,系统仍可以正常的工作,保证了系统运行的安全可靠。 (3)全中文操作界面,有利于工程项目的开发和调试。 5.2 系统的实时数据传递 (1)控制器和主要的通信模块及远程站采用Profibus-DP总线,该总线属于设备总线,主要应用于复杂现场设备和分布式I/O,物理结构为RS-485,传输速率为9.6kb/s∽12Mb/s。 (2)控制器和I/O服务器之间的数据传递采用OPC方式。OPC服务器端ABB OPC Server在I/O服务器中运行,并通过ABB专用的MMS Server 与控制器实现实时数据交换,可以对现场设备及其驱动程序进行封装。OPC服务器向下对设备数据进行采集,向上与OPC客户应用程序通信完成数据交换。OPC服务器屏蔽了现场层的设备驱动程序;客户应用程序开发人员看到的,只是OPC服务器提供的统一接口,而不必再去关心现场设备的驱动程序。只要客户应用程序符合OPC接口规范,就可以与OPC服务器进行数据交换。 (3)数据传递见下图 ![]() 图2 数据传递流程图 5.3 控制器及I/O模块特点 (1)控制器的时钟频率为48MHz,运算速度为0.27ms/千条指令,程序存储空间16M,24V供电,提供2个以太网口,2个RS232口。两控制器冗余配置,电源也冗余。 (2)所有I/O模块都可带电插拔,不会给控制器带来影响。底部硬件锁保证更换的模块与原模块型号相同。当模块通讯中断时,所有输入输出都可以设定在预定义的值内或保持不变。 5.4 系统组态 (1)高效的组态工具 Compact Control Builder ,符合IEC1131标准,提供了六种编程方式:指令表、结构文档、功能块图、顺序图、梯型图和Control Module。后一种为ABB独创,具有更高的工程效率和易用性。 (2)可离线进行仿真测试,无需目标控制器;如需进行软件综合测试,可将程序下载至软控制器,进行测试。 (3)强大的在线帮助系统,提供随时的帮助信息,提高了开发效率,降低了开发难度。 6. 典型调节回路 6.1 炉温双交叉限幅控制 在加热炉燃烧控制方案上采用了广泛使用的串级交叉限幅控制方案,能够较好的达到控制空燃比,降低NOX,以及节能的目的。 它时以以出炉温度为一个主控回路,煤气流量和空气流量为两个副控回路,实现煤气稳定而有效的燃烧。 以炉温调节器的输出信号决定空气流量和煤气流量调节器的设定值,同时,在煤气控制回路和空气控制回路都设有低选和高选的比较选择器。比较的参考信号是由实测的煤气流量和空气流量换算成对应对方的允许流量,与温度调节器输出的要求流量进行比较后组成双交叉限幅选择性控制。交叉限幅控制可以改善系统的动态特性,此系统不但在稳定时能保持适当的空气-燃料比,在动态时也能在一定范围内维持系统的空气-燃料比。 6.2 炉压调节 当对烧嘴的燃烧方式进行切换时或炉门开启时,容易引起炉压波动,引起冷风倒灌或火焰从炉内喷出。炉压调节器根据安装在均热段壁上的变送器测量的压力变化采用PID方式去控制烟道上挡板阀的开度,以保证炉内维护微正压。 当装料炉门或出料炉门开启时会对炉内压力形成扰动,这种干扰采用常规的控制方法不能消除,需在炉门开启期间进行炉压自学习控制。 7. 结束语 加热炉DCS自2005初改造完成后,不仅性能稳定,界面友好,操作简单,维护工作量小,而且产生了巨大的经济和社会效益,。ABB的AC800M系统配置灵活,功能强大,易学易用,性价比高,既具有相当的技术先进性,又代表当今DCS系统的发展趋势,是企业进行技术改造和生产企业过程实现首选的自控系统。 |

