|
摘要: 无刷同步电动机由于没有滑环、碳刷等可能产生火花的环节,在化工、煤矿等具有爆炸性环境的场所有着较为广泛的应用。近年来随着节能观念的推广,大量的无刷同步电动机将面临变频改造。本文简要介绍了无刷同步电动机的结构、原理和运行方式,对无刷同步电动机在变频运行中所遇到的投励、整步、励磁调节等问题进行了详细的分析,提出了无刷同步电动机的变频运行方式,使得在该方式下,变频器能够驱动无刷同步电动机的可靠、经济地调速运行。
关键词: 无刷同步电机,变频,调速,运行方式
一、前言 无刷同步电动机由于没有滑环、碳刷等可能产生火花的环节,在化工、煤矿等具有爆炸性环境的场所有着较为广泛的应用。此外,由于去掉了碳刷等易损元件,大大提高了电机的整体可靠性,在一些要求持续长时间高可靠性运行的场合也有着不少的应用。近年来随着节能观念的推广,大量的无刷同步电动机将面临变频改造。 由于无刷同步电动机固有的技术特点,在变频调速运行时,同步电机遇到的弱磁投励、电机进相运行、变频器-励磁器协同控制等问题一直制约着无刷同步电动机的变频应用。 本文基于无刷同步电动机的结构和原理,对无刷同步电动机在变频运行中所遇到的各种问题进行了详细的分析,并根据理论分析和仿真试验的结果对这些问题提出适当解决方法,使变频器能够驱动无刷同步电动机的可靠、经济地调速运行。
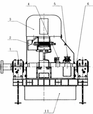
二、无刷同步电动机的结构与工频运行过程 1. 无刷同步电动机的结构 无刷同步电动机的结构如图1所示:
 图1 无刷同步电动机结构 图中:1为滑动轴承,2为无刷同步电动机绕组,3为冷却器,4为旋转整流器,5为励磁发电机。
2. 无刷同步电动机励磁系统结构 无刷同步电动机励磁系统结构如图2所示,其中励磁发电机与同步电动机同轴转动。
 图2 无刷同步电动机励磁系统结构 其中,旋转整流器负责电机起动过程灭磁与投励逻辑,其内部结构如图3所示。电机起动时,旋转整流器控制灭磁晶闸管T4将灭磁电阻RF连接至无刷同步电动机的转子励磁绕组上,以提供较大的起动转矩,降低励磁绕组端电压,此时整流晶闸管T1 ~ T3截止;当电机到达亚同步速且满足准角条件时,控制器触发整流晶闸管T1 ~ T3,将励磁发电机的电枢电压整流后加在同步电动机的励磁绕组上,为同步电动机提供持续的励磁电流,同时关断灭磁晶闸管T4。此时,旋转整流器等效于三相二极管不控整流器。
整流器结构> 图3 旋转整流器结构 3. 无刷同步电动机的工频稳态运行 无刷同步电动机在工频稳态运行时,励磁器向励磁发电机的定子励磁绕组通以适当的励磁电流,在励磁发电机的转子电枢绕组端部感应出三相交流电压,由旋转整流器(等效于二极管整流器)整流成直流电压,施加在无刷同步电动机的转子励磁绕组上,为其提供持续的励磁电流。 根据励磁发电机的物理特性,其输出的电枢电压近似于电机转速和励磁发电机励磁电流的乘积成正比,因此励磁器可以通过调节晶闸管的触发角,调节励磁发电机的定子励磁电流,达到调节无刷同步电动机的转子励磁电流的目的。
4. 无刷同步电动机的工频起动投励过程 无刷同步电动机的工频起动投励过程如图4所示:
 图4 无刷同步电动机工频起动过程 工频起动时,首先高压断路器合闸,旋转整流器的灭磁部分电路根据同步电动机励磁绕组上的感应电压将灭磁电阻连接至同步电动机的励磁绕组上,同步电动机逐渐加速。 高压断路器合闸后,励磁器触发晶闸管,向励磁发电机的定子励磁绕组通以一定的励磁电流。随着电机转速的升高,励磁发电机的转子电枢绕组电压逐渐升高,当其高于旋转整流器的最低工作电压后,由其供电的旋转整流器控制器上电,旋转整流器监测同步电动机励磁绕组上的感应电压,当其周期大于预设值(表示同步电动机已到达亚同步速)且到达反向过零点时,触发整流晶闸管,关断灭磁晶闸管,将励磁发电机的转子电枢电压整流后加在同步电动机的励磁绕组上,完成投励。 电机经过短暂的整步过程后进入稳定的同步运行状态,电机起动过程完成。
5. 无刷同步电动机的工频停机过程 工频停机时,断开高压断路器,同时励磁器调节晶闸管的触发角至有源逆变区,将励磁发电机的定子励磁电流迅速降至零,励磁发电机的转子电枢绕组电压迅速下降,当其小于旋转整流器的最低工作电压时,旋转整流器控制电掉电,其整流晶闸管截止,续流二极管将灭磁电阻连接至同步电动机的励磁绕组上,同步电动机的励磁电流迅速下降至零。同步电动机在负载和阻力转矩等的作用下逐渐停稳。
三、无刷同步电机的变频运行 1. 调速运行时的励磁发电机特性 与有刷同步电动机的滑环直接励磁不同,无刷同步电动机的励磁电流由旋转的励磁发电机发出。由于励磁发电机发出的电压与电机转速和励磁发电机定子励磁电流的乘积成正比,当电机转速低于其额定转速较多时,励磁发电机发出的电压较低,此时即使励磁器向励磁发电机输出最大的励磁电流,无刷同步电动机的励磁电流也将小于其额定值。在起动初期转速很低时,无刷同步电动机将无法获得励磁电流。 同步电动机在无励磁电流条件下变频启动时,其定子电枢绕组将从变频器吸收较大的感性无功电流(典型值约为电机额定电流的2至3倍),该电流仅在变频器和同步电动机之间流动,不注入电网,但会造成变频器和同步电动机定子电枢绕组的短时发热。因此,在电机转速较低时,应向励磁发电机的定子励磁绕组施加尽可能大的电流,以最大限度降低电机的起动电流。
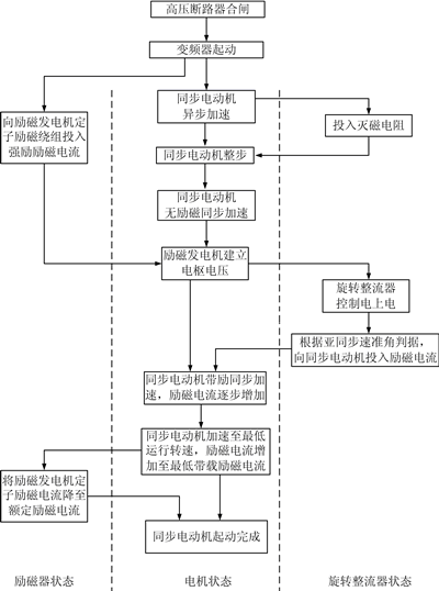
2. 变频起动时的投励与整步过程 无刷同步电动机的变频起动过程如图5所示:
 图5 无刷同步电动机变工频起动过程 高压断路器合闸后,变频器高压上电。变频器收到“启动”命令后,从0.5Hz开始向同步电动机的定子电枢绕组输出电压,并按照预设的加速时间和V/F曲线逐渐提升输出电压的频率和幅值,同步电动机空载起动。 变频器向同步电动机定子电枢绕组输出电压的同时,通知励磁器开始向励磁发电机的定子励磁绕组输出强励励磁电流,该电流为大于励磁发电机的额定励磁电流,小于励磁发电机的最大短时励磁电流,此时,励磁发电机的转子电枢绕组电流近似为零。 变频器起动后,同步电动机依靠其凸极转矩和转子剩磁,经过短暂的异步加速和整步过程(约1至2秒)后进入同步运行状态。由于此时同步电动机无励磁电流,仅依靠凸极转矩和转子剩磁运行,因而其定子侧电流较大,约为电机额定电流的2至3倍。 随着电机的加速,励磁发电机转子电枢绕组感应的电压逐渐升高,当其高于旋转整流器的最低工作电压时,旋转整流器控制电源上电。由于此时同步电动机工作在同步运行状态下,其转子角的少量摆动在励磁绕组上感应出较低频率的电压,该电压的周期满足滑差频率判据。旋转整流器在检测到该电压后,立即触发整流晶闸管,向同步电动机的转子励磁绕组投入励磁电流。由于此时电机的转速仍然较低,励磁发电机的电枢电压较低,因而向同步电动机输出的励磁电流也较低。投入励磁后,同步电动机的定子电枢电流将有所降低,随着电机的加速,励磁发电机输出的电压逐渐增加,同步电动机获得的励磁电流也逐渐增加,同步电动机的定子电枢电流逐渐降低至额定电流之下。 当电机转速增至最低运行转速(调速区间下界)后,变频器通知励磁器将励磁发电机的定子励磁电流调整为励磁发电机的最大持续工作励磁电流(或额定励磁电流),电机起动过程完成,电机可以在该转速下加载运行,或者根据工艺需要,加速至期望的转速运行。 由于上述电机起动过程较短(其典型值约为30秒),且通常启动前励磁发电机和同步电动机绕组温度不高,因此这一过程不会导致励磁发电机和同步电动机过热。
3. 调速范围 对于无刷同步电动机,由于低速时励磁发电机发出的电压较低,同步电动机获得的励磁电流较小,其最大输出转矩(失步转矩)较小,因此需要根据电机的励磁-转矩特性确定其最低运行频率。 一般的,为了提高电机的调速运行范围,在转速较低时,励磁器向励磁发电机的定子励磁绕组输出励磁发电机的最大持续工作励磁电流,此时励磁发电机的转子电枢绕组将输出该转速下最大的感应电压(仍小于其额定转速下的额定电枢电压),同步电动机也能获得该转速下的最大励磁电流。 根据励磁发电机在其最大持续工作励磁电流下的输出电压、同步电动机转子励磁绕组电阻,以及同步电动机的励磁-转矩特性曲线,可以计算出各转速下同步电动机的最大输出转矩(失步转矩)。一般可以按照同步电动机最大输出转矩不小于该转速条件下负载转矩峰值的1.3倍的原则来确定同步电动机的最低运行转速(典型值为电机额定转速的60%至70%)。
4. 励磁调节 (1) 低速满励磁运行 同步电动机在最低运行转速运行时,将从变频器吸收一定的感性无功电流,功率因数滞后。随着转速的升高,其功率因数将逐渐升高,直至单位功率因数(PF=1)。为了降低损耗,提高系统效率,在功率因数到达单位功率因数之前,励磁器应向励磁发电机的定子励磁绕组输出其最大持续工作励磁电流。
(2) 高速时的励磁调节 当同步电动机转速进一步升高时,将向变频器发出感性的无功电流,功率因数超前,此时,为了降低损耗,提高系统效率,变频器将根据其输出功率因数,与励磁器进行通讯,降低励磁器输出到励磁发电机的励磁电流,使同步电动机在单位功率因数下运行。
5. 变频停机过程 变频器收到“立即停机”命令后,将停止向同步电动机的定子电枢绕组输出电压,同时通知励磁器灭磁,励磁发电机的励磁电流快速衰减,同步电动机的励磁电流通过灭磁电阻快速衰减,电机在负载和阻力转矩的作用下逐渐停稳。
6. 失步保护 当变频器检测到同步电动机失步时,立即停止向同步电动机的定子电枢绕组输出电压,同时通知励磁器灭磁,报告故障。
四、结论 本文基于无刷同步电动机的结构和原理,对无刷同步电动机变频运行时可能遇到的问题进行了详细的分析,提出了无刷同步电动机的变频运行方式,在该运行方式下,变频器可以驱动无刷同步电动机可靠、经济地调速运行。 |
|